
SBW系列 隔爆型、本安型带热电偶(阻)温度变送器 SBW系列隔爆型、本安型带热电偶温度变送器是DDZ-S系列仪表中的现场安装式温度变送单元。它集热电偶同变送器为一体,直接测量各种工业过程中-200~800℃范围内的液体,蒸汽和汽体介质的温度,将温度转变成与热电偶热电阻的温度或输出电信号成正比的4~20mADC统一输出信号,送显示、记录调节仪表或计算机。隔爆型、本安型热电偶温度变送器的防爆性能按国家颁布的“爆炸性环境用防爆电气设备”(GB3836)标准设计制造,热电特性符合国际IEC标准,并经国家仪器仪表防爆安全监督站测试合格。是爆炸性环境理想的温度传感器变送一体化产品,可用于有可燃性气体或易燃液体的蒸汽的危险场所、本安型带热电偶温度变送器必须与关联设备安全栅配合构成防爆系统,防爆证号为:GYB 93265、93266、97336、97337。它作为新一代的温度变送器,可广泛用于冶金、石油、化工、电力、轻工、纺织、食品、国防及科研等部门。 本安型带热电偶温度变送器配用的防爆电缆分布参数控制范围:总电感量≤2mH。总电容量≤0.06uF。同时使用关联设备安全栅,选用型号为MTL728、Z928、LB928,安全栅,具体接线见制造厂的说明书。 隔爆型、本安型带热电偶(阻)温度变送器特点: ·变送器部件是小型化、置于隔爆型、本安型热电偶的接线盒内成为一体化温度变送器,用于工业现场。 ·作为一体化温度变送器,在工业现场 直接输出4~20mA信号,这样既省去昂贵的补偿导线,又提高了信号长距离传送过程中的抗干扰能力。 ·变送器部件精度高,功耗低,使用环境温度范围宽,工作稳定可靠,而且由于采用硅橡胶密封结构,变送器耐震、耐温、耐湿、隔爆,适用于各种恶劣现场环境中安装使用。 ·选用隔爆型带热电偶隔离温度变送器,其输入与输出端相隔离,增加抗模干扰能力,更适合计算机使用。
■主要技术指标 热响应时间:见说明书 铂热电阻的精度等级:B级 分度号:Pt100. (0℃时的电阻值) R=1000.12Ω(B级) 允许偏差:Δt(℃)±(0.30+0.005∣t∣)(B级) 输入:热电偶:K,E;热电阻:Pt100 输出:在量程范围内输出4~20mA直流信号与热电阻的输入电信号成线性或与热电偶输入的毫伏信号成线性,与热电阻被测温度成线性或与热电偶被测温度成线性。 注:隔离温度变送达器输出相隔离,隔离电压为0.5KV。 基本误差:计算公式 Δ=Δ1+Δ2;Δ1热电偶(阻)允许偏差;Δ2变送器基本误差±0.5%FS 传送方式:二线制 变送器工作电源:电压最低12V,最高35V,额定工作电压24V。 负载:极限负载电阻按下式计算 RL(max)=50×(Vmin-12)(即24V时负载电阻可在0~600Ω范围内选用,额定负载250Ω。) a.环境温度:-25℃~80℃(危险场所不高于70℃)。 b.相对湿度:5%~95%。 c.机械振动:f≤55Hz,振幅<0.5mm d.周围空气中不含有引起变送器腐蚀的介质。 防爆等级: 隔爆型:dⅡBT4 dⅡBT6 或dⅡCT4 dⅡCT6 本安型:ibⅡBT4 iaⅡBT4 iaⅡCT6(多对式)、关联设备型号MTL728、Z928、LB928。 外壳防护等级:IP65
·电动势允许偏差
注:①为被测量温度(℃)②允许偏差用最大值 *A级产品特殊定货。
·防爆等级标志说明
·电器设备的类别 电气设备分为二类:Ⅰ类-煤矿井下用电气设备;Ⅱ类-工厂用电气设备 ·防爆等级 隔爆型及本安型热电偶的防爆等级按其适用于爆炸性气体混合物最大试安全间隙或最小点燃电流比分为A、B、C三级 ·温度组别 隔爆型、本安型热电偶(阻)允许的最高表面温度(外露部分)分为T1~T6六组。
■绝缘电阻 ·热电偶的绝缘电阻 当周围空气温度为15~35℃;相对应湿度为45%,大气压力86~106KPa时,对长度超过1m热电偶。它的常温绝缘电阻值与其长度乘积应不小于1000MΩ,试验电压为直流500±50V。 ·铠装热电偶(绝缘式)的绝缘电阻 在环境温度为20±15℃,相对应湿度不大于80%,热电极与外套管之间的绝缘电阻应大于等于1000MΩ·m*,试验电压为直流500V。(*绝缘电阻用MΩ·m表示,即为常温绝缘电阻与铠装热电偶长度的乘积) ·铂热电阻的绝缘电阻 当环境温度应在15~35℃,相对湿度不大于80%,常 温绝缘电阻值应不小于100MΩ,试验电压为直流100V。
■热电阻允许通过电流 通过铂电阻的测量电流最大不超过5mA
■型号表示
■种类和规格 隔爆型、本安型带热电偶温度变送器规格表
■结构原理 隔爆型、本安型带热电偶(阻)温度变送器由于采取隔爆结构故当其外壳内部的爆炸性混合气体发生爆炸时,外壳不会破坏,而且由此产生的热能不能顺利地向外进行扩散--传爆,而只能沿着外壳上具有足够连接长度的微小缝隙缓慢地传到壳体外部,这时,传到壳外气体的瞬间温度已不致于能点燃外界的爆炸性气体,即不会导致爆炸,隔爆型带热电偶(阻)温度变送器的防爆类别diiBT4/ diiBT6,或diiCT4/ diiCT6本安型的防爆类别为ibIIBT4/ ibIICT4(多对式),在严格遵守使用规则的情况下,它具有可靠的防爆性能。
■接线盒结构示意图
■安装固定位置 安装固定位置,分为固定螺纹、锥形固定螺纹、固定法兰等三种形式,其结构尺寸见表。
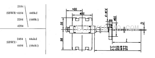
■隔爆型、本安型带热电偶(阻)温度变送器外形结构图例: SBWR-2180/240d(240i) -4180/240d.(240i) -4170/240d -2280/240d.(240i) -4280/240d.(240i) -4270/240d SBWZ-2480/24sd.(24si) -2470/24sd -4480/24sd.(24si) -4470/24sd
SBWR-2180/440d(440i) -4180/440d.(440i) -4170/440d -2280/440d.(440i) -4280/440d.(440i) -4270/440d SBWZ-2480/44sd.(44si) -2470/44sd -4480/44sd.(44si) -4470/44sd
SBWR-2180/240d(240ki) -4180/240d.(240ki) -4170/240kd -2280/240kd.(240ki) -4280/240kd.(240ki) -4270/240kd SBWZ-2480/24skd.(24ski) -2470/24skd -4480/24skd.(24ski) -4470/24skd
SBWR-2180/440d(440ki) -4180/440d.(440ki) -4170/440kd -2280/440kd.(440ki) -4280/440kd.(440ki) -4270/440kd SBWZ-2480/44skd.(44ski) -2470/44skd -4480/44skd.(24ski) -4470/44skd
SBWR-4170/640d -2180/640d -4180/640d -4280/640d -2280/640d -4270/640d SBWZ-2470/64sd -2480/64sd -4480/64sd
SBWR-2280/8413kd.(8413ki) -4280/8413kd.(8413ki) -4270/8412kd.(8413ki) SBWR-2180/8413kd.(8413ki) -4180/8413kd.(8413ki) -4170/8413kd(8413ki)
■隔爆型、本安型带热电偶(阻)智能型温度变送器外形结构图例: ![]() ![]() ![]() ![]() ![]() ![]() ![]() ![]()
■外部接线端子图
■本安型温度变送器与关联设备安全栅接线图
■变送器结构与外形尺寸
■热电偶安装示图
■订货须知
订货时须注明 1、产品名称和型号 2、隔爆等级 3、结构形式 4、分度号 5、测量范围 6、总长和插深(多对式)必须写明每一支元件的长度 7、保护管材料名称和牌号 8、数量 特殊规格订货,须经双方协商决定。 本安型温度变送器关联设备型号:MTL728、Z928、LB928
|
|||||||||||||||||||||||||||||||||||||||||||||||||||||||||||||||||||||||||||||||||||||||||||||||||||||||||||||||||||||||||||||||||||||||||||||||||||||||||||||||||||||||||||||||||||||||||||||||||||||||||||||||||||||||||||||||||||||||||||||||||||||||||||||||||||||||||||||||||||||||||||||































